取付け
スライドレールの取付ねじ
スライドレールの取付ねじの入るスペースは 図1 のように狭いため、トラスねじ、バインドねじ(JIS B 1111付属書)を推奨します。
単位:mm
| 呼び形番 | 取付 ねじサイズ |
レール板厚 | t |
|---|---|---|---|
| FBW 2560XR | M4 | 1.5 | 3.2 |
| FBW 3590XR | M4 | 2.5 | 3.4 |
| FBW 50110XR | M5 | 2.5 | 3.4 |
ストッパの取付け
スライダがオーバーランしてスライドレールからはずれるおそれがある場合には、専用ストッパを図2のようにスライドレールエンドに取付けます。
スライダの組込み
FBW-XR形はスライドレールからスライダを抜いてもボールは脱落しませんが、組込む場合、こじったりすると脱落することがありますので、できるだけスライドレールからスライダを外さないで組付けるようにしてください。
溝の寸法
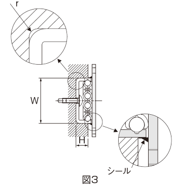
FBW-XR形のレールを溝に入れて使用する場合の溝寸法を図3に示します。
単位:mm
| 呼び形番 | W | H | r(最大) |
|---|---|---|---|
| FBW 2560XR |
24.8
+0.15
+0.1 |
7.4 | 1 |
| FBW 3590XR |
37.4
+0.15
+0.1 |
10 | 2 |
| FBW 50110XR |
50.4
+0.15
+0.1 |
10 | 2.5 |
- 注) FBW3590XR、50110XRは、従来品(3590R、50110R)に比べ溝幅寸法Wが0.4mm大きくなっております。